دانلود اکسل محاسبه طول مهار میلگرد قلابدار
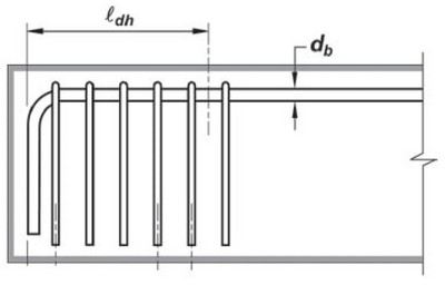
در رابطه با محاسبه طول مهار میلگرد قلابدار، دکتر مسعود حسینزاده اصل (مدرس دورههای طراحی سازه سرا) یک شیت اکسل تهیه کردهایم که این ویدیو نحوه استفاده از آن را توضیح میدهد:
برای راحتی کار یک جدول خلاصه شده هم تهیه شده تا نیازی به محاسبه مورد به مورد نباشد.
برای دانلود اکسل روی لینک زیر کلیک کنید:
اگر شما هم علاقهمند به یادگیری حرفهای طراحی سازه هستید و به دنبال فعالیت تخصصی در حوزه طراحی سازه یا محاسبات میباشید، میتوانید از آموزشهای تخصصی طراحی سازه سـرا استفاده کنید.
در این دورهها رویکرد آموزش، ارائه مفهومی مطالب بر اساس نیاز بازار کار طراحی میباشد.

حرفهای ترین دوره طراحی سازه
پس از یک سال، دوره جدید طراحی سازه از مفاهیم پایه تا اصول حرفهای طراحی، با تدریس دکتر حسینزاده اصل به صورت آنلاین برگزار میشود.
مشاهده دوره
